
Hot Products
產品中心



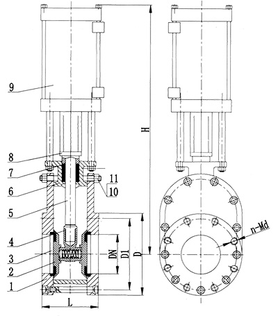
特點說明
本閥適用于發電廠干灰系統、倉泵出料輸送,也可適用于礦山、造紙、化工等個類有磨損的干粉塵、高硬度的顆粒例如(灰渣水)等介質,或有軟顆粒但又有腐蝕性的介質的管道上作啟閉之用。公稱壓力1.0MPa,適應溫度≤200℃,氣源壓力0.6-0.8Mpa。
本閥門關閉后任何方向全部密封。閥體中間體系用WCB鑄鋼件及無縫鋼管焊接。密封面采用硬密封件。
本閥料口全流通無阻擋物有吹堵裝置,耐磨性能強,密封性能好,啟動負荷小卡灰及結灰現象少。
本閥采用高檔曾韌結構陶瓷密封,機械強度高耐磨性能好使用壽命長。結構緊湊可任意角度安裝。
